您好,江华瑶族自治县中小企业公共服务平台欢迎您!
 您当前位置:技术交易 > 

“软靠模”数控活塞车削系统


行业类别:工业生产过程控制系统
所处阶段:试生产阶段
持有单位:国防科技大学
转让方式:技术转让,技术许可,
转让价格:面议

成果信息

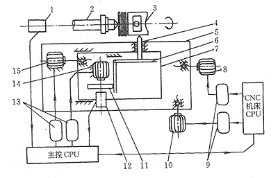
该成果作为一种新型数控系统,用来车削中凸变椭圆铝合金活塞外圆。它采用全闭环高频响伺服刀架,从而大大提高了刀架刚度,能够车削大抗力的刚靠模。操作也很简便,只需预先在计算机中输入活塞的中凸形线、椭圆度变化规律、横截面的形状等原始数据,计算机就会自动地将原始数据生成加工数据,高频响、大刚度的伺服刀架就可根据计算机的指令,配合主轴的高速旋转,纵向的走刀完成对中凸椭圆面的数控加工;系统获授权发明专利1项。)

背景介绍

在内燃机活塞切削加工中,软靠模技术以其加工效率高、椭圆度精度高、加工柔性好等诸多优点,正广泛应用于中凸变椭圆活塞加工的数控机床系统中。软靠模技术的使用对机床的车刀进给系统提出了更高的性能需求,要求车刀微位移进给系统满足高频响、高精度、高刚度以及较好的可控性。)

应用前景

该系统不断升级已售出上百台,深受国内活塞制造厂家的好评。随着市场对数控设备需求增多,该系统有广泛的市场前景。)

主办单位:江华瑶族自治县科技和工业信息化局

技术支持:长沙诺为信息技术有限公司

江华瑶族自治县科工局   ICP备案号: 湘ICP备10209074号-28